previous
|
start
|
next
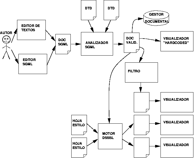
Entorno de producción SGML
previous
|
start
|
next